You are here: Home > PRODUCTS > Cylindrical roller bearing

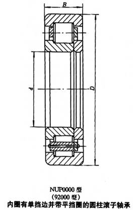
NUP2211M Cylindrical rollers and raceways are line contact bearings. Load capacity, mainly bear radial load. The rolling element has little friction with the ferrule rib and is suitable for high speed rotation. According to the ferrule with or without ribs, it can be divided into single row cylindrical roller bearings such as NU, NJ, NUP, N, NF, and double row cylindrical roller bearings such as NNU and NN. The bearing is a structure in which the inner ring and the outer ring are separable.

Tel:

Overview

Bearing sample diagram

Recommended